Was geschieht bei der Verbrennung von Kohlenstoff ?
Abb. 1

1 ) Sauerstoff
2) Kohlenstoff
Kohlenstoff
reagiert mit Sauerstoff zu Kohlendioxid nach der Gleichung:
C + O2 ----> CO2
Was geschieht, wenn Kohlendioxid mit Wasser reagiert ?
Kohlendioxid
reagiert mit Wasser unter Bildung von
Kohlensäure.
CO2 +
H2O ----> H2CO3
Welche Farbreaktion zeigt die Kohlensäure mit
Universalindikator ?
Abb.2

1) Kohlensäure 2) Universalindikator
Kohlensäure
ist eine schwache Säure und färbt die Indikatorflüssigkeit nur orange
(gelborange). Starke Säuren färben Universalindikator
rot.
Herstellung von Kohlenstoffdioxid
Arbeitsmittel:
Gasentwickler,
Calciumcarbonat (Marmor), CaC03
Salzsäure,
25%ig (10 Teile Wasser ,25 Teile konz. Salzsäure.)
(Für rund
10 l Kohlendioxid benötigt man 50 g Marmor, 150 ml Salzsäure 25%ig)
Durchführung:
Die
Salzsäure wird auf den Marmor getropft.
Beobachtung:
Aufschäumen,
Gas entweicht.
Ergebnis:
CaC03 + 2 HCl ----> CaCl2 + CO2 + H2O
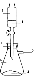
Versuchsaufbau:

1) Salzsäure
2) Kohlenstoffdioxid
3)Marmor 4) Tropftrichter 5) Stopfen
6) Erlenmeyerkolben mit seitlichem Ansatzrohr
Kalkwasserprobe -
Nachweis von Kohlenstoffdioxid
Mit Calciumcarbonat kann Kohlendioxid »CO2« nachgewiesen werden. Leitet man
Kohlendioxid in Kalkwasser, so entsteht ein weißer Niederschlag aus Calciumcarbonat
Ca(OH)2 + CO2 ------> CaCO3 + H2O
Ionengleichung: CO2 + Ca2+ + 2OH- ----> CaCO3 +
H2O
Kohlensäure ist druckempfindlich !
Presst
man CO2
in Leitungswasser oder Mineralwasser so entsteht Kohlensäure, die beim
Schütteln der Flasche wieder zerfällt.
Hinreaktion: CO2 + H2O ------> H2CO3
Rückreaktion: H2CO3 ------> CO2 + H2O